Le carburateur moderne

 
Afin d’empêcher que le titre du mélange s’enrichisse avec l’accroissement du régime du moteur, depuis 70 ans, différents dispositifs ont été étudiés et parmi les plus appropriés on a trouvé le système de correction par freinage d’air qui est automatique, c’est-à-dire sans éléments mobiles.

a) correction par freinage d’air

FIG. 9
Correction par freinage d'air - S tube de giclage - Gf jet d'air de freinage - T tube d'émultion plongé dans le puisard P - G gicleur principal - V cuve - D diffuseur - F papillon
Ce système a été adopté dans les carburateurs Weber et il est illustré dans la Fig. 9. Lorsque la dépression s’établissant dans la section restreinte du diffuseur D, se transmet au puisard P à travers le tube de giclage S, cela appelle du carburant par le gicleur G, tandis que de l’air aspiré de l’extérieur par le gicleur Gf, à travers les trous latéraux du tube d’émulsion T.
Comme la dépression augmente en fonction de l’augmentation du régime du moteur, l’écoulement du carburant du gicleur G est freiné par la résistance croissante produite par l’air aspiré à travers le jet Gf et les orifices du tube T.
 
Les avantages principaux de ce système de correction automatique sont les suivants :
- pulvérisation meilleure du carburant, car du tube de giclage S il ne sort pas de l’essence pure comme dans le carburateur élémentaire, mais un mélange air-carburant.
- On comprend aisément que le gicleur principal G n’est plus soumis à la dépression entière du diffuseur D, ce qui fait qu’à un certain débit d’essence, correspond un gicleur G de plus grandes dimensions.

Cela est avantageux soit parce que un gicleur plus grand est plus facile à construire et moins sensible aux impuretés du carburant, soit parce que ses caractéristiques d’écoulement contribuent à l’amélioration de la correction.
Même les dimensions du tube de giclage S ont une importance considérable et il en est de même pour celles de l’espace entre le tube T et le puisard P, à travers lequel passe le carburant : en effet, un tube S et un espace de dimensions plus réduites, constituent une résistance au passage du mélange de manière d’autant plus accentuée que la dépression existant dans le diffuseur est plus élevée ; en agissant même sur ces deux éléments il est possible de corriger davantage la courbe de débit du carburant, réalisant de la sorte le dosage qui convient le mieux à l’alimentation du moteur.

b) dispositif de fonctionnement au ralenti

Ce dispositif permet le fonctionnement du moteur chaud au régime le plus réduit.
Dans ces conditions le papillon de réglage est presque fermé et la dépression qui s’établit dans le diffuseur est trop limitée pour pouvoir aspirer le carburant, étant donné la faible quantité d’air aspiré par le moteur. On remarque que la dépression dans le collecteur d’admission est élevée aux faibles débits d’air en courbe d’utilisation qui, comme il a été déjà dit, est liée avec la marche au ralenti du moteur.

 

FIG. 10
Système de ralenti - Gam jet d'air de ralenti - Gm gicleur de ralenti - G gicleur principal - 1 trou de sortie de mélange de ralenti - 2 trou de progression - 3 vis de réglage du mélange de ralenti - 4 vis régalant l'ouverture du papillon (vis de régime).

On exploite par conséquent cette dépression pour le système d’alimentation du moteur au ralenti : il suffit de relier la zone au-dessous du papillon, vers le moteur, à un gicleur Gm, Fig. 10, ayant en dérivation un jet d’air de ralenti Gam, qui, permet en outre d’interrompre le siphon qui, autrement, viendrait à se créer.

Le mélange ainsi produit est aspiré par le moteur à la sortie du trou d’alimentation 1, réglé par la vis à pointe conique 3 appelée « vis de réglage du mélange de ralenti ».Pendant la marche au ralenti, le moteur aspire l’air nécessaire à travers la petite ouverture du papillon, ouverture réglable par la « vis de réglage de régime de ralenti » 4 appropriée et le mélange, à travers le trou déjà mentionné, ce qui fait que le régime de ralenti est réglable par deux vis.

Dans les applications plus ordinaires, le carburant du système de ralenti est prélevé dans le puisard du système principal, à partir d’une position déterminée, correspondant à la hauteur des trous les plus bas de l’émulseur comme il est montré dans la Fig. 10, ou, de toute façon, en aval du gicleur principal. Cette disposition arrête automatiquement le débit du système de ralenti lorsqu’il n’est pas nécessaire. A puissance élevée par exemple, lorsque dans le puisard on a la plus grande dépression, on peut avoir l’ « inversion » dans le système de ralenti, c’est-à-dire que de l’air pénètre à travers les trous 1 et 2 par Gam et il arrive dans le puisard principal.
Dans les applications sportives le système de ralenti est souvent alimenté directement dans la cuve, en d’autres cas l’ « inversion » est limitée en variant le système en question

c) progression d’accélération

FIG. 11
Phase de progression - A fonctionnement au ralenti - B progression - C amorçage du gicleur principal et arrêt du débit du gicleur de ralenti - 1 trou de sortie de mélange de ralenti - 2 trou de progression - F papillon - D diffuseur - S tube de giclage

 

Comme nous l’avons illustré jusqu’à présent, le carburateur peut fonctionner au ralenti aussi bien qu’au régime normal avec papillon en position allant de l’ouverture moyenne à l’ouverture totale. Cependant, si on essaie de passer du fonctionnement au ralenti à celui de puissance en ouvrant un peu le papillon pour augmenter le régime de rotation du moteur, celui-ci s’arrête.
Ceci se produit parce que l’ouverture du papillon laisse pénétrer une plus grande quantité d’air tandis que le mélange, débité par le trou réglé par la vis conique n’augmente pas en proportion mais tend à se réduire avec la dépression : ce qui fait que le moteur, en recevant un mélange au titre pauvre, s’arrête.
Pour réaliser la progression d’accélération, on perce un trou 2 face au bord supérieur du papillon en position de ralenti, en communication avec le canal du mélange, Fig. 11.

Pendant le fonctionnement au ralenti - schéma A, Fig. 11 - étant donné que le trou 2 se trouve au-dessus du papillon dans une zone où il existe une pression presque équivalente à celle atmosphérique, on a une entrée d’air qui est aspiré par le moteur, avec le mélange, à travers le trou 1 se trouvant en bas. En ouvrant davantage le papillon - schéma B, Fig. 11- le trou de progression 2 se trouve partiellement ou totalement dans la zone sous le papillon, où il existe une forte dépression et, de ce fait, il débite du mélange en parallèle avec le trou de ralenti 1.
En ouvrant encore davantage le papillon, le mélange produit par le gicleur de ralenti serait insuffisant, mais le tube de giclage S sur lequel se produit maintenant une dépression suffisante commence à débiter - schéma C, Fig. 11.
Parfois les trous de progression sont au nombre de deux ou trois en vue de prolonger la phase d’accompagnement de l’ouverture du papillon.
 
Dans ces phases de progressions d’accélération, surtout lorsque le papillon s’ouvre soudainement, la forme et les dimensions du tube d’émulsion T - Fig. 9, s’avèrent très importantes : en effet, dans le tube T et dans l’espace entre ce dernier et le puisard P il existe une certaine quantité de carburant dont le niveau, à cause de la capillarité, avec le moteur marchant au ralenti, est presque égal à celui dans la cuve.
- Lorsqu’on ouvre le papillon, il suffit de peu de mm d’eau de dépression pour aspirer promptement du carburant du puisard P, et amorcer de la sorte le débit du gicleur principal.
En résumé, les moyens sans éléments en mouvement employés pour assurer un fonctionnement régulier du moteur lors de l’ouverture du papillon sont deux :
- le trou de progression (ou les trous) et
- la réserve du puisard P.
 Malgré les dispositifs ci-dessus décrits il peut arriver qu’il soit nécessaire d’utiliser une pompe d’accélération ou de reprise, pour injecter une petite quantité de carburant à chaque ouverture rapide du papillon. Les cas les plus communs sont les suivants :
L’ouverture rapide du papillon peut provoquer un appauvrissement momentané du titre du mélange, à cause de la plus grande rapidité avec laquelle l’air est aspiré en fonction du carburant : cela dépend des densités et du parcours dans le carburateur, des deux fluides.
 Le meilleur résultat s’obtient, généralement, si le carburant injecté est dirigé vers le bord du papillon qui n’agit pas sur les trous de progression.

FIG. 12-A
Pompe de reprise à piston -1 tige de piston - 2 ressort de pompe - 3 levier de pompe - F papillon - Va soupape d'admission - Sp piston de pompe - Gsc jet de décharge de pompe - V cuve - Vm soupape de refoulement - Gp gicleur de pompe


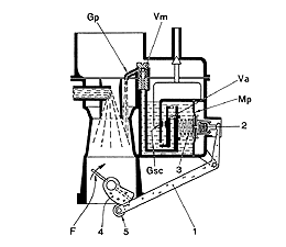
FIG. 12-B
Pompe de reprise à membrane -1 levier de pompe - 2 ressort de pompe - 3 ressort de retour de pompe - 4 came - 5 galet - F papillon - Gsc jet de décharge de pompe - Mp membrane - Va soupape d'admission
- Vm
soupape de refoulement - Gp gicleur de pompe

 

La pompe à commande mécanique peut être à piston ou bien à membrane, Fig. 12-A et B. Dans la Fig. 12-A, lorsque le papillon s’ouvre, le piston Sp est poussé en bas par le ressort 2 et comprime de ce fait le carburant se trouvant au-dessous : la soupape d’admission Va se ferme et le liquide, la soupape de refoulement Vm étant ouverte, est injecté par le gicleur de la pompe Gp tandis qu’une partie revient dans la cuve à travers le jet de décharge Gsc. A la fermeture du papillon, le piston est soulevé en comprimant le ressort 2 et aspire du carburant par la soupape Va et le jet Gsc.

Dans la Fig. 12-B une  membrane flexible remplace le piston, mais le fonctionnement de la pompe est le même.
- lorsque le diamètre du diffuseur dépasse 22-24 mm
- lorsqu’un seul carburateur alimente plusieurs cylindres ;
- dans les applications sportives.
Plus en avant on précisera l’importance du gicleur Gp et du jet Gsc.

Page Préc.

Page Suiv.