d) dispositif de démarrage ou starter

Ce dispositif complète le carburateur automatique moderne, dans sa version la plus simple.
Lors du démarrage du moteur froid et surtout à une température ambiante basse, il se vérifie ce qui suit :

- dépression faible
agissant sur les jets du carburateur et qui se produit dans le collecteur d’admission, parce que le moteur, entraîné par le démarreur, tourne pour différentes causes, à un régime réduit, environ 70 à 150 t/ min ;

- débit insuffisant
de la part du gicleur de ralenti et tout à fait nul de la part du gicleur principal à cause de faiblesse de la dépression ;

- condensation sur les parois des tubulures d’admission et des cylindres, du carburant débité par le carburateur par suite de la faible dépression et de la basse température. Un mélange pauvre et non homogène arrive aux cylindres, contenant en outre un pourcentage notable de carburant encore à l’état liquide et par conséquent d’un allumage difficile.
Pour réaliser un démarrage rapide et pendant la mise à température du moteur il est donc nécessaire que le carburateur débite un mélange riche, au moyen d’un dispositif approprié, le starter.
Lorsque le moteur a atteint la température normale de fonctionnement, le starter doit être éliminé.

Starter manuel à carburateur auxiliaire:

FIG. 13
Starter simple - canal de mélange de starter - 2 jet d'air de starter - 3 soupape de starter - 4 puisard de réserve de starter - F papillon - Gs gicleur de starter - V cuve.

Il consiste en un circuit de carburation alimenté directement par la cuve et qui peut être utilisé, avec le papillon en position de ralenti, à l’aide d’une commande propre.

Comme montré par la Fig. 13, la dépression sous le papillon se propage, lorsque la soupape 3 s’ouvre, à travers le canal 1 à la réserve de carburant 4 et ensuite au gicleur Gs.
 
Le mélange débité par ce circuit et dilué avec l’air entré par le jet 2, permet au moteur de démarrer et de développer une bonne puissance en phase de mise en action.
 
Le starter que l’on vient de décrire est doté d’une soupape d’obturation simple et peut être amélioré en le dotant d’une soupape à fonctionnement progressif, qui permet de graduer l’intervention du dispositif.

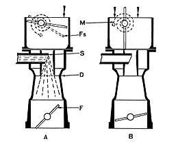
Starter manuel à volet     

FIG. 14
Starter à volet excentrée - Fs volet de starter - S gicleur - D diffuseur - F papillon primaire - M ressort calibré

   Dans ce système, Fig. 14, on remplace le carburateur auxiliaire déjà décrit, par volet Fs excentré par rapport à l’axe du conduit et placé au-dessus du diffuseur D. Lors de la mise en marche, Fig. 14-A, le volet excentré est amené en position de fermeture tandis que le papillon primaire F s’ouvre légèrement - position de ralenti accéléré - par l’entremise de leviers. On remarque tout de suite que la dépression produite par le moteur entraîné, ne reste plus limitée à la zone au-dessous du papillon F comme dans le système précédent, mais intéresse à présent toute la zone se trouvant sous le volet excentré, y compris le diffuseur D et le gicleur S.
 
Une fois le moteur en marche, la dépression sur le gicleur S augmente en provoquant un mélange trop riche, mais en même temps, la force qui tend à ouvrir le volet Fs augmente aussi ; c’est pourquoi ce volet n’est pas relié rigidement au système de leviers du starter, mais par un ressort calibré M, de façon que le volet Fs puisse s’ouvrir pour maintenir la pression à la valeur établie. Le moteur chaud, le volet Fs, doit être disposé en position verticale, Fig. 14-B, c’est-à-dire que le starter doit être exclu.

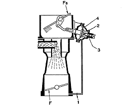
FIG. 15
Dégorgement pneumatique - 1 gicleur de calibrage sur le conduit de dépression - 2 ressort de rappel membrane - 3 vis de réglage - 4 membrane -Fs volet de starter F papillon primaire.

 Afin d’améliorer le fonctionnement du moteur lors de la mise en action on utilise, parfois, le dispositif - à dégorgement pneumatique - illustré dans la Fig. 15.
Sous le papillon F la dépression augmente lorsque le moteur est en marche et en agissant sur la membrane 4 il surmonte la force du ressort 2 : le volet Fs est par conséquent ouvert, contre l’action du ressort de starter (non représenté), à une valeur déterminée de la vis de réglage 3.
Le volet Fs peut s’ouvrir davantage, mais il ne peut pas se fermer tant que le moteur reste en marche.

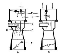
FIG. 16
Starter à volet excentrique avec soupape - 1 soupape de dégorgement - Fs volet de starter - S gicleur - C centreur - D diffuseur - F papillon primaire - En A starter en action, en B starter exclu.

 Une solution différente de starter à volet est montrée par la Fig. 16 ; pendant la phase de démarrage du moteur le volet Fs reste fermé puisque c’est la soupape 1 qui règle le passage de l’air suivant les nécessités du moteur.
Le starter à volet offre, par rapport à celui avec carburateur auxiliaire, l’avantage d’obtenir du moteur à basse température, un démarrage plus prompt et une puissance plus élevée.

Commande automatique du starter  

Afin de rendre plus aisée la conduite de la voiture, et pour éviter que le starter soit utilisé de façon erronée ou bien qu’il soit gardé en circuit même après que le moteur a atteint la température de régime, sur certains types de carburateurs le starter a été rendu automatique et indépendant de la volonté du conducteur. L’exclusion du starter est provoqué par l’échauffement de l’organe thermo-sensible : cet échauffement est assuré soit par l’air réchauffé par le collecteur d’échappement, soit par l’eau de refroidissement du moteur, soit encore par une résistance électrique branchée au système d’allumage.
Tout ce que l’on demande au conducteur, normalement, pour amener le starter avant de démarrer le moteur, est de presser à fond la pédale d’accélérateur, puis de l’abandonner, c’est pourquoi cette commande est définie semi-automatique.

FIG. 17

Schéma de starter automatique - 1 axe, 2 levier, 3 levier, solidaires entre eux - 4 came de ralenti accéléré - 5 vis de réglage de ralenti accéléré - 6 levier de ralenti accéléré - 7 tirant - 8 levier d'accélérateur - 9 ressort reliant la came 4 au levier 3 - 10 tige de l'appauvrisseur pneumatique - 12 régulateur de régime de ralenti - Fs volet de starter - F papillon primaire - M ressort antagoniste de la membrane D - B ressort à spirale bimétal - R réchauffeur bimétal B


Dans la Fig. 17 se trouve un schéma de principe sur lequel seront examinées les conditions d’armement, de démarrage et accélération et d’exclusion.

Armement - le moteur froid, la spirale bimétal B déplace l’axe 1 et le levier 2 solidaires du levier 3, en fermant le volet excentré Fs ; cela a lieu lorsque le conducteur appuie sur la pédale d’accélérateur pour le démarrage pour la ramener ensuite en position normale. L’action du conducteur est indispensable pour éloigner de la came 4 le vis 5 sur le levier 6, par l’entremise du tirant 7 relié avec le levier d’accélérateur 8 : seulement en éloignant la vis 5 la spirale bimétal B peut faire tourner le levier 3 qui commande la came de ralenti accéléré 4 à l’aide du ressort 9. Avant le démarrage du moteur, le volet de starter Fs doit être fermé et la vis 5 doit s’appuyer sur la came 4, pour ouvrir le papillon F comme établi pour le ralenti accéléré.

Démarrage et accélération - lorsque le moteur est en marche, la dépression sous le papillon F augmente et est à même de déplacer la membrane D et la tige 10 dans la limite accordée par le régulateur d’appauvrissement 11 - dénoyage pneumatique - ; le déplacement de la tige 10 provoque l’ouverture partielle du volet Fs, pour adapter le titre du mélange au moteur en phase d’échauffement, en surmontant la résistance du ressort M et de la spirale bimétal B. Si on presse faiblement l’accélérateur, de façon à permettre que la vis 5 soit détachée de la came 4, à l’aide du ressort 9, la came est tourné du même angle que le mouvement de la tige 10 a fait accomplir auparavant au levier 3. Si l’accélérateur est abandonné, la vis 5 ira s’appuyer sur une nouvelle position de la came 4, disposée afin de réduire le régime de ralenti accéléré.
Lorsque par contre l’accélérateur est pressé davantage, la dépression sous le papillon F se réduit, le ressort M fait revenir la tige 10, et l’ouverture du volet Fs n’est réglée que par la spirale bimétal B. Si le démarrage est rendu difficile par un titre excessivement riche du mélange, en pressant l’accélérateur à fond, le papillon F s’ouvre complètement et par l’entremise du tirant 7 et l’appendice du levier 6, il fait tourner la came 4 et le levier 3 et force par conséquent le volet Fs à s’ouvrir : en faisant tourner le moteur au démarreur on a la possibilité de diluer le mélange et, ensuite, de répéter le démarrage de la façon indiquée ci-dessus.

Exclusion - avec le moteur en marche, la chaleur qui se produit dans le réchauffeur R est transmise à la spirale bimétal qui, graduellement, se déforme et réduit la force tendant à fermer le volet Fs : ceci réduit l’enrichissement du titre du mélange de ralenti accéléré. Une fois la température de régime atteinte, la bimétal B amène le volet Fs en position verticale et tourne la came 4 jusqu’à ce qu’elle n’est plus au contact avec la vis 5 ; le papillon F peut ainsi revenir à la position de ralenti normal réglée par la vis de réglage 12.

 

Page Préc.

Page Suiv.