c) Dispositifs pour varier le titre du mélange
Comme nous l’avons indiqué au début ( Fig. 3-4-5 ), pour un
meilleur rendement du moteur et pour une exploitation meilleure du carburant, il
faut que le titre du mélange soit approprié aux exigences du moteur, tandis
que, avec la papillon partiellement ouvert et par conséquent à puissance réduite,
le titre peut être appauvri tout à l’avantage de l’économie de
consommation et la toxicité des gaz d’échappement.
Si un conduit de carburateur alimente seulement un ou deux cylindres, l’allure
discontinue dans l’admission de l’air produit déjà un appauvrissement
satisfaisant du titre de mélange pendant le fonctionnement avec le papillon
partiellement ouvert. Souvent il s’avère nécessaire d’ajouter au
carburateur des dispositifs spéciaux pour l’adapter, en toutes conditions,
aux exigences du moteur.
![]() |
FIG. 20 Circuit d'enrichissement (suralimentateur) - 1 gicleur de carburant - 2 jet d'air de brassage - 3 gicleur de mélange de suralimentation - 4 conduit de sortie de mélange dans le centreur - S Gicleur de centreur - D diffuseur - F papillon primaire. |
Dans la Fig. 20 est représenté un circuit d’enrichissement sans éléments mobiles ou suralimenteur. En parallèle avec le circuit principal, se trouve un circuit indépendant formé par le gicleur de carburant 1, par le jet d’air 2 et le gicleur de mélange 3. Le carburant aspiré dans la cuve et réglé par le gicleur 1, est brassé avec l’air entré à travers le jet 2 et le mélange, à travers la bague calibrée du gicleur de mélange 3 arrive dans le conduit 4 du centreur, au-dessus du gicleur S.
![]() |
FIG. 21 Circuit d'enrichissement - 1 gicleur de carburant - Ts tube de giclage de carburant - S gicleur - D diffuseur - F papillon primaire. |
Le débit de ce circuit sert surtout à enrichir le mélange lorsque l’air
est aspiré en grande quantité, avec le papillon partiellement ou totalement
ouvert.
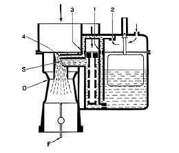
Un circuit très semblable est illustré par la Fig. 21 : dans ce cas il
n’y a pas d’air d’émulsion et la sortie du carburant se fait au moyen du
tube approprié Ts.
![]() |
FIG. 22 Circuit d'appauvrissement - Gf jet d'air de frein principal -S tube de giclage - D diffuseur - Vsm soupape à rotation solidaire du papillon primaire F. |
Un circuit d’appauvrissement du mélange avec le papillon partiellement
ouvert est décrit en Fig. 22. Il consiste en une soupape Vsm
actionnée par l’axe porte-papillon et qui sert à fermer, le papillon étant
complètement ouvert, une entrée additionnelle d’air sur le circuit
d’alimentation principal du carburateur. Le papillon étant partiellement
ouvert, on a à gauche, comme indiqué par les flèches, une adjonction d’air
dans le puisard au-dessous du jet d’air de frein Gf puisque la soupape Vsm
est ouverte.
|
|
| FIG. 23 Soupape d'enrichissement du mélange A ou en puissance B - 1 prise de dépression - 2 membrane - 3 ressort antagoniste- 4 gicleur de carburant - S tube de giclage - D diffuseur - F papillon principal - V cuve à niveau constant. |
La Fig. 23-A-B illustre une soupape, en deux versions, servant à
enrichir le mélange, le papillon partiellement ouvert comme en A ou le
papillon complètement ouvert comme en B ; cette soupape est commandée
par la dépression existant dans le collecteur d’admission.
Fig. 23-A, pour enrichir le mélange la dépression se trouvant sous le
papillon en 1 est amenée sur le côté supérieur de la membrane 2
qui est souvent levée contre l’action du ressort 3.
Le carburant aspiré dans la cuve V passe à travers la soupape comme
indiqué par les flèches, et il est réglé par le gicleur 4 pour déboucher
ensuite dans le conduit supérieur du tube de giclage S. Avec le papillon
totalement ouvert, la dépression est insuffisante à vaincre la force du
ressort 3 et la soupape reste fermée (position en pointillé).
Fig. 23-B, pour enrichir à pleine puissance : l’action de la dépression est celle que nous venons de voir, tandis que la soupape est à fonctionnement inversé. Avec le papillon entrebâillé, la membrane 2 est soulevée, comme dans la figure, et la soupape dans ce cas est fermée et ne permet aucun passage de carburant. Avec le papillon totalement ouvert, la dépression n’est pas à même de maintenir soulevé la membrane 2, ce qui fait que l’on aura la position en pointillé, avec ouverture de la soupape.
![]() |
FIG. 24 Circuit d'enrichissement à pleine puissance - Gp jet de pompe - Vm soupape de refoulement - Gal flotteur - Sp piston de pompe - Va soupape d'aspiration - Gsc jet de décharge de pompe - Vp soupape de pleine puissance - Gpp gicleur de carburant de pleine puissance - G gicleur principal de carburant. |
La Fig. 24 montre le schéma d’un circuit enrichisseur à pleine
puissance et à commande mécanique. Le papillon étant totalement ouvert, le
piston de la pompe de reprise Sp se trouve dans la position inférieure
et ouvre la soupape conique Vp ; le carburant provenant du cylindre de la
pompe, à travers la soupape Vp atteint le gicleur Gpp et l’on
aura un débit un parallèle avec le gicleur principal G.
Avec le papillon entrebâillé, comme indiqué dans la figure, la soupape Vp
reste fermée et il n’y a pas de débit supplémentaire. Un tel circuit peut
être réalisé même pour la pompe de reprise à membrane.
| Page Préc. |