d) Carburateurs étanches à la poussière

Actuellement on essaye de relier à la zone propre du filtre à air, toutes les entrées d’air et les évents du carburateurs tels que les jets d’air de frein, la ventilation de la cuve, le jet d’air de starter, etc. : cela est avantageux pour le nettoyage intérieur du carburateur, pour le silence, pour la réduction de l’influence du colmatage du filtre à air sur la consommation, pour la pollution de l’air, etc. Il en résulte cependant deux inconvénients importants, le premier consistant en un démarrage difficile, le moteur très chaud, provoqué par une accumulation de carburant évaporé (percolation), et le deuxième provoqué par l’influence complexe et toujours exploitable de l’aspiration pulsatoire du moteur sur le dosage ; c’est pour cette raison qu’il n’est parfois pas possible d’adopter le carburateur à étanchéité totale contre la poussière.

e) Amortisseur de soupape d’arrivée d ‘essence

FIG. 25
Amortisseur de pointeau d'aspiration essence - 1
logement du pointeau 2 - 3 ressort - 4 bille - 5 crochet d'actionnement du pointeau.

Afin d’améliorer le maintien du niveau de carburant dans la cuve, l’utilisation du pointeau à ressort s’est largement diffusée - Fig. 25.
Ce dispositif offre des avantages dans les carburateurs soumis à des vibrations particulières, sur les moteurs avec un nombre limité de cylindres et à régimes de rotation très élevés. La Fig. 25-A et B montre la section du pointeau ; à l’intérieur un ressort et une bille forment l’amortisseur. La Fig. 25-C illustre le pointeau au flotteur, afin d’éviter des grippages dus à des impuretés ou à la gomme du carburant. Dans certaines solutions, le cône du pointeau est réalisé en matériau non métallique, par ex. en caoutchouc synthétique.

f) Alimentation du carburant

Actuellement, pour des raisons d’encombrement et de sécurité, le carburant est envoyé du réservoir au carburateur par une pompe actionnée par le moteur ou par une pompe électrique disposée à proximité du réservoir.

FIG. 27
Courbe des prestations d'une pompe mécanique -
à gauche, en haut débit de la pompe à refoulement libre; en bas C. consommation du moteur en puissance et en utilisation. A droite, allure de la pression de refoulement au changement du débit à 2000 t/min constants de la came.

La Fig. 27 reporte les caractéristiques de débit et de pression de refoulement selon le régime du moteur, pour une pompe d’alimentation à membrane commandée mécaniquement, et la consommation C du moteur sur lequel la pompe était utilisée. La pompe doit assurer un débit de carburant toujours supérieur à la consommation du moteur et doit avoir, en outre :
- un amorçage rapide à bas régime du moteur (phase de démarrage)
- une pression de refoulement contenue dans la valeur établie
- un isolement thermique efficace pour une utilisation sûre dans la saison chaude
- un fonctionnement silencieux.

FIG. 28
Schéma du recyclage de carburant - 1
arrivée du carburant de la pompe - 2 retour du carburant au réservoir - 3 étranglement - 4 soupape à pointeau - A ventilation de la cuve - Gal flotteur - V cuve.

Dans le but d’éviter les inconvénients dus à l’échauffement de la pompe mécanique, on réalise parfois le circuit de la Fig. 28, avec lequel on obtient le renvoi au réservoir des vapeurs de carburant produites dans la pompe ou dans les canalisations.

 

RÉGLAGE DES CARBURATEURS WEBER

Par réglage on entend la liste des valeurs données aux pièces calibrées d'un carburateur, dans son application sur un moteur.
Si le carburateur est du type à plusieurs corps à ouverture synchronisée des papillons, chaque corps a le même réglage.
Si l'ouverture est différenciée le réglage est différent et il est présenté séparé en primaire et secondaire.

En examinant le réglage d'un carburateur du type 40 DCOE par exemple, l'influence des pièces calibrées sur le fonctionnement du moteur devient claire, et, avec des variations limitées on pourra étendre ces indications à tous les carburateurs Weber.

Exemple de réglage de carburateur
40 DCOE 2

1) Diffuseur 29 mm
2) Centreur 4,5 mm
3) Gicleur principal 1,10 mm
4) Jet d'air principal 2,00 mm
5) Tube d'émulsion F16  
6) Gicleur de ralenti
(alimenté par la cuve)
0,50 / F11 mm
7) Gicleur de pompe 0,35 mm
8) Décharge de pompe 0,70 mm

 

9) Débit de la pompe
pour une course
et un conduit
0,20 cm3
10) Gicleur de starter 0,60 / F5 mm
11 -12) Soupape à pointeau
(avec amortisseur)
1,50 mm
13) Niveau : distance entre
le sommet du flotteur et
le couvercle avec joint
8,5 mm
14) Flotteur . poids 26 gr
15) Trompettes non montées

 

Ce carburateur est du type horizontal avec deux corps égaux et avec des papillons à ouverture synchronisée.
Il est monté en couple sur un moteur 4 cylindres de 1300 cm3 ayant 90 ch à 6000 t/min.
Il s'agit d'une solution sportive où chaque corps de carburateur alimente indépendamment un cylindre du moteur (alimentation unitaire).

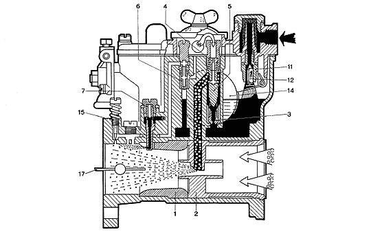
FIG. 29
Vue en coupe d'un carburateur série DCOE

1 diffuseur - 2 centreur - 3 gicleur principal - 4 jet d'air principal - 5 tube d'émulsion - 6 gicleur de ralenti - 7 gicleur de pompe 11 soupape - 12 pointeau - 14 flotteur - 16 Vis de réglage mélange de ralenti - 17 papillon.

Il est toujours possible de reconnaître les principales pièces calibrées du carburateur, dans les différentes dispositions adoptées lorsque par ex. les corps sont verticaux. Dans le sigle des carburateurs Weber le premier chiffre indique le diamètre du corps en mm à la hauteur du papillon, puis il y a un groupe de lettres et pour finir il peut y avoir un autre chiffre complétant la désignation.
Exemples :
- 40 DCOE 32 : carburateur double corps horizontaux de 40 mm.
- 28/36 DLE 2 : carburateur double corps, primaire de 28 mm, secondaire de 36 mm.

 

Page Préc.

Page Suiv.